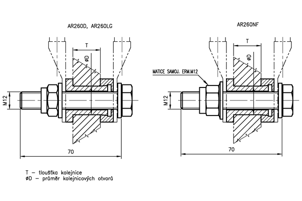
| Katalogové číslo | Název součásti | Ø D [mm] | T [mm] |
|---|---|---|---|
| H46/II/1 | Kontakt kolejnicový oboustranný | 19 | 14 ÷ 16,5 |
| H46/II/2 | Kontakt kolejnicový oboustranný | 19 | 12 ÷ 14 |
| H46/II/3 | Kontakt kolejnicový oboustranný | 19 | 16,5 ÷ 19 |
Elektrizace železnic Praha a.s. Centrální sklad Semanínská 2082, 560 02 Česká Třebová CZ
49°53'36.234"N, 16°26'50.615"E
Verze dat: 2013-05-30

